דלג לתוכן
ראשי
הסיפור שלנו
קטגוריות מוצרים
ציוד הרמה
ציוד לעבודה בגובה
ציוד ייעודי
ציוד אל – חלד (נירוסטה)
ציוד מסחרי
פרויקטים מיוחדים
תקן ISO
יצירת קשר
ראשי
הסיפור שלנו
קטגוריות מוצרים
ציוד הרמה
ציוד לעבודה בגובה
ציוד ייעודי
ציוד אל – חלד (נירוסטה)
ציוד מסחרי
פרויקטים מיוחדים
תקן ISO
יצירת קשר
עגורן - ציוד הרמה גרירה קשירה ושינוע
עמוד הבית
/
ציוד הרמה
/
רצועות קשירה ועיגון
/ שקל לרצועה CROSBY S-281
שקל לרצועה CROSBY S-281
מותג: -
שקל לרצועה תוצרת קרוסבי לעומסים משתנים
מק"ט: 281000
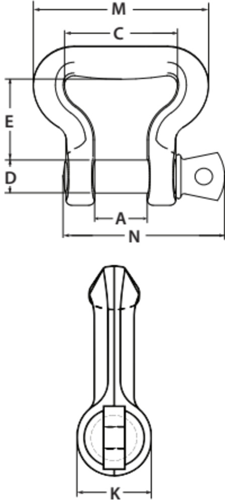
מידת רצועה
רוחב רצועה מ"מ
רוחב עין מ"מ
עומס עבודה בטיחותי טון
A
C
D
E
K
M
N
1 ו-2
50
50
3-1/4
26.9
63.5
19.1
41.1
31
97.5
85
3
75
35
4-1/2
31.8
51
22.4
38.1
35.8
86
101
4
100
50
6-1/4
36.6
63.5
25.4
51
41.1
107
114
5 ו-6
150
75
8-1/2
42.9
92
28.7
70
46.7
143
130
קבלת הצעת מחיר
שם מלא
שם חברה / ארגון
אימייל
טלפון
מק"ט המוצר
מספר יחידות
שליחה
לא בטוחים שזה המוצר שאתם צריכים?
דברו איתנו בטלפון או בוואטסאפ!
03-6878476
054-41234567
מוצרים נוספים
מוצרים קשורים
טבעת משולשת לרצועה
לפרטים נוספים
מחבר לרצועה CROSBY S-280
לפרטים נוספים
תפס קפיצי
לפרטים נוספים
אונקל הרמה מסתובב נעילה אוטומטית S-1326 CROSBY
לפרטים נוספים